Introduction
Constructed with a one-piece, seamless all-steel curved post and 2D double horizontal wire welded mesh. The 2DT Wire Mesh Fence features a sleek and elegant appearance with dynamic, smooth lines. The integrated design of the post buckle groove connects the mesh without requiring additional connectors, allowing it to adapt seamlessly to uneven terrain and installations at various angles. The fence employs a push-type installation method for added convenience and efficiency.
Single Horizontal Wire Mesh Panel
| Name | Parameter |
|---|---|
| Mesh Height(mm) | 1000-2430 |
| Mesh Width(mm) | 2500/3000 |
| Wire Diameter(mm) | Ø5.0+Ø4.5+Ø5.0/Ø6.0+Ø5.0+Ø6.0/Ø8.0+Ø6.0+Ø8.0 |
| Vertical Wire Spacing(mm) | 50/55/65 |
| Horizontal wire spacing (mm) | 200 |
| Material | Q195/Q235 |
| Zn coating(g/㎡) | 80-120 |
| Color | RAL Color Series |
Post Specification
| Name | Parameter |
|---|---|
| Size(mm) | 70 * 100 |
| Thickness(mm) | 1.0/1.2/1.5 |
| Material | Q235/DC51D |
| Height | 1000-3000 |
| Material | Q235/DC51D |
| Zn coating | 80-120 g/㎡ |
| Color | RAL Color Series |
| Cover | ABS |
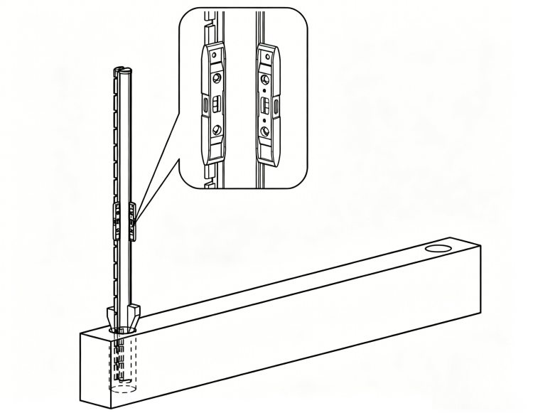
Mesh Connection
Integrally formed column with snap-groove structure design. No external connectors are required between the mesh panel and the column. It greatly reduces the possibility of manual dismantling and improves product installation safety.
Surface Treatment(Anti-rust Treatment)
Class1:The substrate is hot-dip galvanized with a zinc coating of 80-120g/m ², and the outer coating is sprayed with polyester electrostatic powder with a coating thickness of 100-120um. There are over 200 colors available in the RAL color series;
Class2:The entire component is hot-dip galvanized with a zinc coating of 550g/m ².
Colors Available
Popular colors
One-Stop Fencing: Smart Design, Global Std
- Drawing Deepening Service:
Our professional and efficient drawing deepening service has significantly reduced on-site adjustment time. - Custom Fencing Solutions:
We offer one-stop fencing customization services covering the entire process from design to construction. - Compliance Assurance:
All our products adhere to international standards. - Material Optimization:
We recommend optimal material solutions based on specific usage scenarios, striking a perfect balance between cost and durability.
Installation Method
![]() |
Step 1: Install Post Cap for dust and water protection |
![]() |
Step 2:Column installation
|
![]() |
Step 3:Column Fixing
|
![]() |
Step 4:Mesh Panel Installation
|
![]() |
Step 5: Column installation
|
![]() |
Step 6: Column fixing and alignment
|
Corner Installation Method
![]() |
|
Step Installation Method
|
|
Safety accessories
Application Gallery
Construction and installation drawings
🌟 Our business worldwide 🌟
China Fence Company conducts business worldwide, welded, concertina razor wire, and a wide range of fencing products in partnership with clients across the globe.
Why Choose Us
Our quality compare with others
Our welded mesh fences feature heavy galvanizing that outperforms rust-prone alternatives. Made with high-grade steel wires, our fences deliver superior strength and durability. Unlike others you may see in the market—often breaking or corroding within a short time—our products are built to last.
Frequently Asked Questions for the fence
Who are we?
We are chinese fence company with 3 professsional factories located in Raoyang county ,Hengshui City,Hebei Province.Click here for more info.
What kind of services can we offer?
24/7 Customer Support – Always available to answer your questions and provide timely assistance.Free Quotation & Cost Calculation – Accurate and transparent pricing tailored to your project.Customized Design Solutions – Free design services based on your specific requirements and site conditions.Strict Quality Control – Every product is inspected to meet international standards before delivery.Efficient Logistics & Fast Delivery – Reliable shipping arrangements to ensure your order arrives on time.
Why buy galvanized wire mesh fence?
After learning about its features, you’ll see why galvanized welded mesh fencing is a smart choice. Since we are the factory, we can offer it at a more competitive price compared to fences with double-layer protection such as pre-galvanizing plus PVC coating, which are usually more expensive.
Can you design and make as customers’ request?
Sure, we will do as the detailed specification from the customers,and professional recommendation will be offered to customers.
















